十大正规买球网站

微信 智能问答 繁體版
本网站已支持IPV6
您当前的位置:首页 - 政府信息公开 - 市直部门政府信息公开 - 市市场监督管理局 - 业务管理

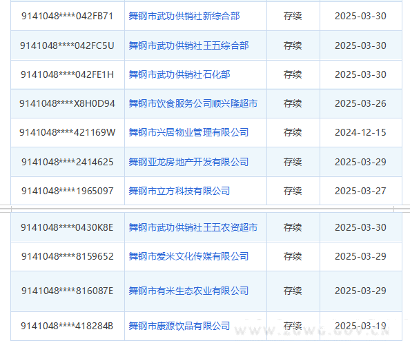
以下企业注意了,您的营业执照经营期限即将到期!(2025年4月前)

发布日期:2024-12-06 来源: 浏览次数:

重要提醒!!!

以下企业注意了,您的营业执照经营期限即将到期!(20254月前)

e4e5d41da3842b3f5dfe177c023f1faf.pngd0e4d1f7974562ed5e531e9c29db927c.pnga432fff4b6fa993b63fe529e55694bbb.png

请以上企业及时到行政审批大厅市场监管局窗口申请办理经营期限备案业务!

澳门新葡京娱乐城 足球外围平台 专业的中文博彩网站 亚洲博彩网站 太阳城app下载